Effectiveness of CFRP reinforcement for cracked brick walls

It is very effective to reinforce the cracked brick walls with CFRP sheets. The ultimate load of cracked wall strengthened with CFRP is significantly higher than that of unreinforced wall.

The technology of Strengthening Masonry Structure with CFRP has the advantages of high strength, high efficiency, convenient construction, good durability, no increase of weight and volume, wide application and so on. It has a broad application prospect in China. In this paper, the related research on the reinforcement and repair of the cracked brick masonry structure with CFRP is carried out. The test proves that the method can easily and effectively solve the problems of building wall cracks in the buildings that have plagued the society at present.


Test situation

Design and manufacture of 11 specimen

The height width ratio of the specimen is 1: 114, the wall thickness is 240mm, width 1400mm, and height 1000mm. When the specimen is made, the wall is made of MU10 brick and M10 cement mortar, and the upper and lower beams are C30 concrete. The vertical compressive stress is 0 2MPa = 11, and the specimen size is shown in Figure 1.

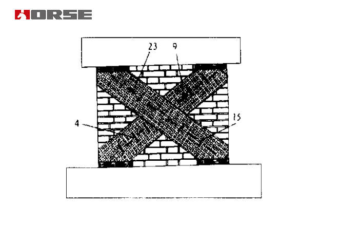
CFRP reinforcement for cracked brick walls


Reinforcement scheme for test parts

he specimen Wall 22 was cracked. First, the positive load is applied to the wall. When the loading to the cracking load (212kN), the brick wall suddenly cracks (the corresponding cracking displacement is 21 0mm) and forms a slanting crack quickly. As shown in Figure 2, the crack is about 01 25mm at the width of the crack. At this point, some cracks are closed and the width of the crack is about 011. Mm.

Strengthening by carbon fiber reinfroced polymer(CFRP). Double side sticking carbon fiber fabric , the width is 300mm, "X" shape, both upper and lower ends are anchored.

CFRP reinforcement for cracked brick walls

Test result


Wallf1(Mpa)f2(Mpa)

Loading direction

Cracking load

Ultimate load

Dehiscence displacemen

Maximum tensile stress of CFRP

Experimental value

Increase the degree value

Experimental value

Increase the degree value

Experimental value

Increase the degree value



Wall 211116416189

Average

224
-224-3107-

Wall 22

1116416189Positive--276231281016016 43231519
Negative368641336864131114271133392545



Conclusion

  • In this paper, it is proved that carbon fiber sheet is very effective in strengthening and repairing cracked brick walls. The ultimate load of the cracked wall reinforced by CFRP is obviously higher than that of the unreinforced wall, and the deformation ability of the reinforced wall is obviously improved, and the cracking displacement of the reinforced wall is significantly increased.

  • The carbon fiber cloth can improve the stress state of the wall through the pull rod mechanism in the truss model, so as to improve the shear capacity of the component.



Horse Construction Recommended Products

You can find anything here you are in need of, have a trust trying on these products, you will find the big difference after that.

HM-20 Unidirectional Carbon Fiber Wrap

High strength, unidirectional carbon fiber wrap pre-saturated to form a carbon fiber reinforced polymer (CFRP) wrap used to strengthen structural concrete elements.

See more >

HM-180 Carbon Fiber Primer

Low viscosity, strong penetration carbon fiber primer for reinforced concrete surface to enhace the defect part

See more >

HM-180C3P Carbon Fiber Adhesive

Good impregnation carbon fiber adhesive for applying carbon fiber reinforced polymer(CFRP) wrap for structural strengthening

See more >

Back
Top
Close